概述:
GravityRAT是一款隐秘的间谍软件,从2016年开始就反复被用于针对印度的持续性攻击。在此期间,GravityRAT添加了很多新功能,尤其是文件渗透,远程命令执行,以及反VM技术,使其更难以检测,它可以非常快速地从受感染计算机中窃取大量数据,甚至可以扫描连接到受害设备的外部硬盘驱动器或USB,然后提取这些文件。之前GravityRAT比较注于计算机的恶意攻击,但是研究者发现该木马正增加针对macOS和Android平台的攻击。
近期,恒安嘉新暗影实验室App全景态势与情报溯源挖掘平台监测到一款名为爱欲故事(英文:Lust Stories)的恶意程序,研究人员分析发现该应用利用用户Android 设备的多个广播事件(开关飞行模,电量,充电状态,开关屏幕等)触发启动恶意服务,然后窃取用户短信箱信息、用户联系人信息、通话记录信息等,并上传至C2服务器,给用户个人隐私造成严重的威胁,同时,研究人员发现该样本GravityRAT家族类的特征,但样本代码并不复杂,推断是GravityRAT针对Android平台的早期版本,本文针对GravityRAT的间谍行为进行披露,防患于未然。
1. 样本信息
MD5:c7b8e65e5d04d5ffbc43ed7639a42a5f
包名:com.example.first
应用名:LustStories
安装图标:
2. 恶意行为综述
该应用以流行影视题材为应用名称,诱导用户安装使用。在用户的使用过程中恶意服务获取用户通话记录信息、用户短信箱信息、用户联系人信息等,并将获取的用户联系人信息、短信箱信息、通话记录信息等保存到指定的文件当中,恶意程序以设备的状态触发恶意服务的条件,通过相应状态的广播触发恶意服务,将包含用户信息的文件上传到指定服务器。
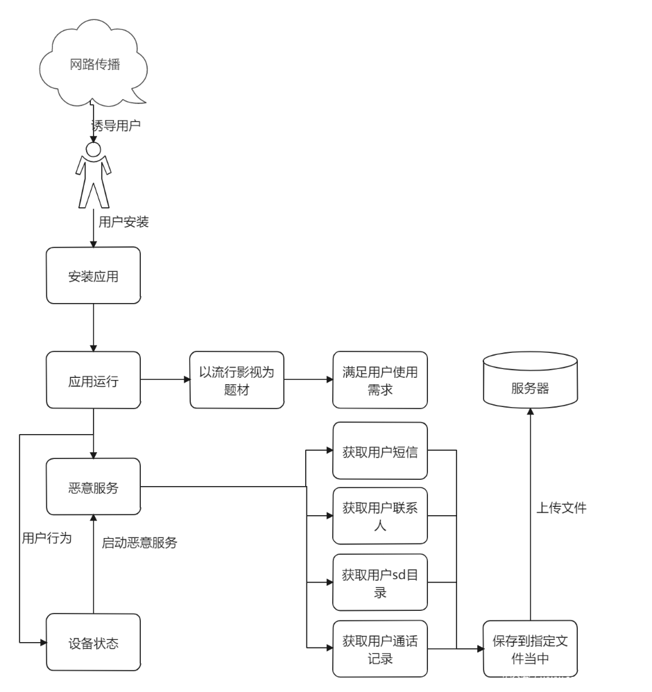
3. 运行流程图
该应用以流行影视题材为应用名称,诱导用户安装使用。用户安装后恶意服务获取用户通话记录信息、用户短信箱信息、用户联系人信息等,恶意程序以设备的状态为触发恶意服务的条件,通过相应状态的广播触发恶意服务,获取包含用户短信箱信息、用户联系人信息、用户通话记录信息等用户隐私文件。
图3-1 程序运行流程图
4. 技术原理分析
4.1 诱导用户安装
该应用以流行影视题材为应用名称,诱导用户安装使用,用户安装后可正常使用,用户打开界面获取所需信息。
图4-1 诱导用户安装
用户登录应用:
图4-2 用户登录
用户进入应用获取内容:
图4-3 向用户展示内容
4.2 程序加载运行
恶意程序启动恶意服务,恶意服务初始化远控地址,并将获取的信息上传到指定服务器。获取的用户信息前面添加了用户的IMEI字段,用来区分用户信息的来源。
1)恶意程序初始化远控地址:
图4-4 初始化远控地址
2)恶意服务远控地址:http://n2.norto***dates.online:64443 /FOXTROT/upload.php。
图4-5 远控地址
3)恶意服务在获取的用户信息前面添加用户IMEI字段,并将带有IMEI的用户信息上传到指定服务地址。
图4-6 上传带有IMEI的用户信息
4.3 恶意行为分析
恶意程序根据设备的状态发送对应的广播,发送对应的广播启动恶意服务,恶意服务获取用户通话记录信息、用户短信箱信息、用户联系人信息等,将获取的信息上传到指定服务器。
4.3.1 恶意程序启动恶意服务
恶意程序根据设备状态发送广播,发送对应动作广播,启动恶意服务。
1)恶意程序根据设备状态发送广播启动恶意服务。
| 相关联的动作 | 广播类型 | 恶意行为 | ||||
| 设备关闭屏幕 | android.intent.action.SCREEN_OFF | 启动恶意服务 | ||||
| 设备打开屏幕 | android.intent.action.SCREEN_ON | 启动恶意服务 | ||||
| 设备开关飞行模式 | android.intent.action.AIRPLANE_MODE | 启动恶意服务 | ||||
| 设备电量过低 | android.intent.action.BATTERY_LOW | 启动恶意服务 | ||||
| 设备电量充足 | android.intent.action.BATTERY_OKAY | 启动恶意服务 | ||||
| 设备修改日期 | android.intent.action.DATE_CHANGED | 启动恶意服务 | ||||
| 设备充电 | android.intent.action.ACTION_POWER_CONNECTED | 启动恶意服务 | ||||
| 设备断开充电 | android.intent.action.ACTION_POWER_DISCONNECTED | 启动恶意服务 |
2)设备关闭屏幕时,设备发送android.intent.action.SCREEN_OFF广播,启动恶意服务,获取用户通话记录、通讯录、短信等内容。
图4-8 屏幕关闭发送广播启动恶意服务
3)设备打开屏幕时,设备发送android.intent.action.SCREEN_ON广播,启动恶意服务,获取用户通话记录、通讯录、短信等内容。
图4-9 屏幕打开发送广播启动恶意服务
4)设备开关飞行模式时,设备发送android.intent.action.AIRPLANE_MODE广播,启动恶意服务,获取用户通话记录、通讯录、短信等内容。
图4-10 飞行模式开关发送广播启动恶意服务
5)设备电量过低时,设备发送android.intent.action.BATTERY_LOW广播,启动恶意服务,获取用户通话记录、通讯录、短信等内容。
图4-11 电量过低发送广播启动恶意服务
6)设备电量充足时,设备发送android.intent.action.BATTERY_OKAY广播,启动恶意服务,获取用户通话记录、通讯录、短信等内容。
图4-12 电量充足时发送广播启动恶意服务
7)设备修改日期时,设备发送android.intent.action.DATE_CHANGED广播,启动恶意服务,获取用户通话记录、通讯录、短信等内容。
图4-13 日期改变发送广播启动恶意服务
8)设备充电时,设备发送android.intent.action.ACTION_POWER_CONNECTED广播,启动恶意服务,获取用户通话记录、通讯录、短信等内容。
图4-14 设备充电发送广播启动恶意服务
9)设备断开充电,设备发送android.intent.action.ACTION_POWER_DISCONNECTED广播,启动恶意服务,获取用户通话记录、通讯录、短信等内容。
图4-15 断开电源发送广播启动恶意服务
4.3.2 恶意服务获取用户信息
恶意服务启动后获取用联系人信息、用户通话记录信息、用户sd目录信息、用户短信信息。
1)恶意服务获取用户联系人信息:
图4-16 获取用户联系人信息
将获取的联系人信息保存到cs.log当中:
图4-17 联系人信息保存到cs.log当中
2)恶意服务获取用户通话记录信息:
图4-18 获取用户通话记录
恶意服务将获取到的通话记录保存到cl.log当中:
图4-19 通话记录保存到cl.log当中
3)恶意服务获取用户sd当中的目录:
图4-20 获取用户sd目录
恶意服务将获取的sd目录信息保存到fsc.log当中:
图4-21 保存sd卡目录信息
4)恶意服务获取用户短信信息:
图4-22 获取用户短信信息
将获取的短信信息保存到ms.log当中:
图4-23 保存用户短信信息
4.3.3 上传用户隐私信息
恶意服务将获取的用户通讯、通话记录、短信上传到指定服务器。服务器地址是:http://n2.nor***pdates.online:64443/FOXTROT/upload.php。
图4-24 上传用户隐私信息
5. 扩展分析
5.1 关联域名
经远控域名关联分析,此域名还对应其他子域名:
| 序号 | 全域名 | 对应域名 | |||
| 1 | n1.nort***dates.online | norto***dates.online | |||
| 2 | n2.nort***pdates.online | norto***dates.online | |||
| 3 | n3.nort***pdates.online | norto***dates.online | |||
| 4 | n4.nort***pdates.online | norto***dates.online | |||
| 5 | www.n***nupdates.online | norto***dates.online |
5.2 域名注册更新时间
根据域名分析发现此域名域名在18年注册,并在2020年6月更新,此组织比较活跃。
5.3 域名访问量
根据最近的域名访问情况来看攻击行为一直持续存在。
| 日期 | 访问量 | ||
| 2020年10月11日 | 2 | ||
| 2020年10月15日 | 2 | ||
| 2020年10月20日 | 6 | ||
| 2020年10月24日 | 2 | ||
| 2020年10月28日 | 2 | ||
| 2020年11月5日 | 2 |
6. 安全建议
- 用户安装所需软件,建议去正规的应用市场下载、去官方下载。
- 在手机当中安装必要的安全软件,并保持安全软件更新。
- 关注“暗影安全实验室”微信公众号,我们将持续关注安全事件。
目前,恒安嘉新App全景态势与情报溯源挖掘平台针对300多家公开渠道以及非公开渠道进行持续的监测。


























